UEDBET盘口
UEDBET官网 能源大变局,能源煤冲锋,焦煤守家,煤化工东风起舞,煤还能涨吗?
2026-04-01

煤炭板块年内领跑。


作家 | Los
剪辑 | 小白
近期中东地缘疏忽捏续升级,平直威迫到宇宙原油及自然气供应链的安全。
动作石油和自然气的关节替代能源,煤炭的计策详确价值再次突显。在宇宙能源价钱波动加重的布景下,中国动作煤炭分娩与破钞大国,其煤炭板块不仅是避险的“遁迹所”,更是具备溢价空间的计策金钱。
放眼年内,31个申万行业中,煤炭板块完成逆袭,以23.1%的涨幅登顶榜首。疏忽以来,煤炭以涨幅达8.7%领跑。商场对能源安全的高度青睐,正在行情中迟缓完满。

(来源:Choice数据)
那接下来煤炭还有飞腾空间吗?

煤化工说合溢价,焦煤攻守兼备
长江证券最近指出,2010年以来油煤比良善煤比的变迁粗略进程3-4个阶段。
2023年于今,由于OPEC控产及计策储备下油价偏稳,重叠国内供需偏宽,煤价下行探底,油煤比呈普及趋势,由2.0普及至2.3。
2025年于今,由于欧盟碳关税扩大气电相对煤电上风,重叠国内供需转宽煤价下行,气煤比进一步抬升至2.3。

(来源:长江证券)
凭据3月13日的数据,布伦特原油价钱报103.14好意思元/桶,IPE英国自然气价钱为12.95英镑/百万英热单元。以2.3的比价核心为基准,长江证券测算,现时油气价钱对应的国内合理煤价应接近1000元/吨。

(来源:长江证券)
而当下能源煤实质价钱约730元/吨。若石油与自然气价钱捏续高位初始,表面上煤炭仍存在较大的补涨空间。
煤炭板块可细分为能源煤、焦煤、焦炭三个子行业,但三者当下行情逻辑互异。
能源煤方面呈现短期淡季承压,但底部撑捏强盛。
当下干涉传统用电淡季,电厂日耗偏低、库存充裕,采购需求难以大幅开释。另一方面,入口煤价钱严重倒挂,入口量暴减,国内供应成为主力;同期,化工等非电行业的刚性需求在捏续开释;大秦线查验将减少口岸调入量,有助于缓解库存压力。
而焦煤方面,涨幅不足能源煤,主要由于阶段性焦煤开工率上升导致供给增多,但需求端并未出现权贵改善;从长久逻辑来看,焦煤还受到下流钢铁、房地产等行业需求承压的影响。后续要存眷铁水普及斜率以及结尾库存去化情况。
频频来讲,UEDBET官网 真金不怕火焦煤价钱跟着能源煤价钱的波动而波动,在2.4倍比值有颠倒昭彰的法例。中国能源网最新数据,京唐港主焦煤报价为1650元/吨,与能源煤的比值为2.26。
焦炭则处于夹缝生涯,长久受制于“上游煤价贵、下流钢价弱”的双向挤压。属于典型的奴婢品种,现在举座处于底部盈利建筑期。
此外,跟着油价在中东所在下波动上行,煤化工板块的逻辑正在由“资本驱动”转向“替代溢价”。尤其,煤制烯烃、煤制乙二醇等工艺在油价保管高位时,较国际油头旅途具备权贵的资本上风。
总结来说,中东扰动延续,煤炭板块将出现举座扩散行情,煤化工先行,能源煤紧随自后,而焦煤是攻守兼备的品种。

掘金煤炭,绕不开这只基金
聚焦煤炭赛谈,商场上仅此一只的煤炭ETF,是绕不开的投资器用。

(来源:市值风浪APP)
追想昔日六年,煤炭金钱的收益发扬亮眼。自2020年1月20日成立以来,煤炭ETF国泰(515220.SH)基金净值已增长198%。现在,该只基金并吞限制为109.1亿元,年内涨超24%。

(来源:Choice数据)
煤炭ETF国泰(515220.SH)追踪中证煤炭指数(399998.SZ),其主要聚焦在能源煤和焦煤,二者权重占比接近90%。

(来源:Choice数据)
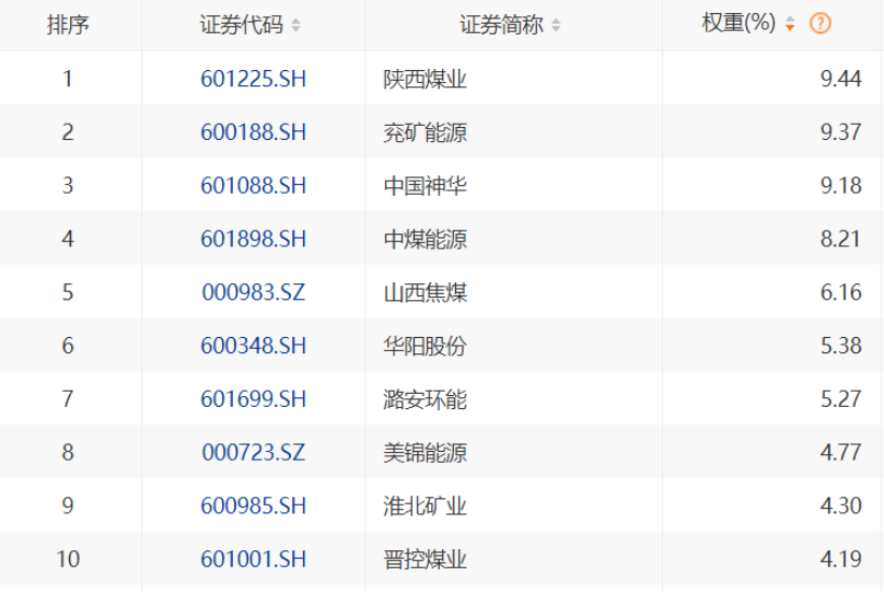
前十大重仓股,包括陕西煤业、兖矿能源、中国神华、中煤能源以及金控煤业能源煤企业,也涵盖山西焦煤、华阳股份、潞安环能、淮北矿业主营焦煤的企业。前十大计较占比为66.2%。

(来源:Choice数据)
前十大重仓股年内股价扫数发扬飞腾,兖矿能源、中煤能源、晋控煤业永别大涨55%、43%和25%。
从企业盈利情况来看,2025年焦煤企业均濒临量价皆跌及资本压力,多家企业预报2025年归母净利润同比大幅下滑,像淮北矿业下滑近70%。但在反内卷政策提议以来,灵验抬升煤价底部,行业有建筑预期。

(来源:Choice数据)
但需要防御的是,中证煤炭指数现在估值水平仍处于较高位置,PE(TTM)处于近5年的99.5%分位水平。

(来源:Wind数据)
总结看,若中东疏忽气象持续演绎,推升油价,能源替代逻辑下煤化工与能源煤起原受益;随后也将扩散到焦煤。但长久订价仍取决于行业基本面,供需表情是否足以撑捏煤价核心,而商场发扬也要总结企业盈利才能的建筑进度。
免责声明:基金有风险UEDBET官网 ,投资需严慎。本论说(著述)所以商场公开信息(包括但不限于临时公告、如期论说和官方互动平台等)为核心依据的零丁第三方商讨;市值风浪尽力论说(著述)所载内容及不雅点客不雅平允,但不保证其准确性、齐全性、实时性等;本论说(著述)中的信息或所表述的见地仅供参考,不组成任何投资建议,市值风浪不合因使用本论说所选拔的任何行动承担任何牵涉。
斗鱼体育(DouYuSports)官网入口
备案号: